产品类型: PM2.5粉尘颗粒物体传感器
产品型号: PM1001
声明: hth官网入口传感保留更改产品设计、规格、参数的权利及资料信息的最终 解释权。欲了解更多关于hth官网入口产品的信息,请致电hth官网入口公司,索取更多详 细的技术资料。

产品概述
PM1001红外粉尘传感器产品利用光学照射的原理,通过光路与电路的转换,测量出检测范围内的灰尘浓度,可灵敏检测直径为1μm以上灰尘颗粒物,直接应用单片机进行UART 通信。产品体积小、精度高、功耗低、测量范围宽、响应时间短、应用方便快捷。
传感器特点
? 长期稳定性好 ? 功耗低 ? 抗干扰性好
? 灵敏度高 ? 一致性好 ? 体积小
应用领域
空调、空气净化器、除湿器、便携检测仪、其它家用电器、汽车空气净化、新风系统、智能检测仪
技术指标
PM1001红外粉尘传感器规格参数 | |
检测种类 | PM0.3~PM10 |
检测范围 | 5~2500μg/m3(微克/立方米) |
检测精度 | ±20ug/m? 或 ±20%读数(@25±2℃, 50%±10%RH) |
上电稳定时间 | ≤10 s |
工作电压 | DC 5V±5% , 纹波50mV以下 |
工作电流 | ≤15mA |
输出方式 | UART |
物理接口 | ZH1.5mm-4P插座 |
工作条件 | -20℃~+75℃,0~95%RH(非凝结) |
存储条件 | -40℃~+85℃,0~95%RH(非凝结) |
产品寿命 | ≥8 年 |
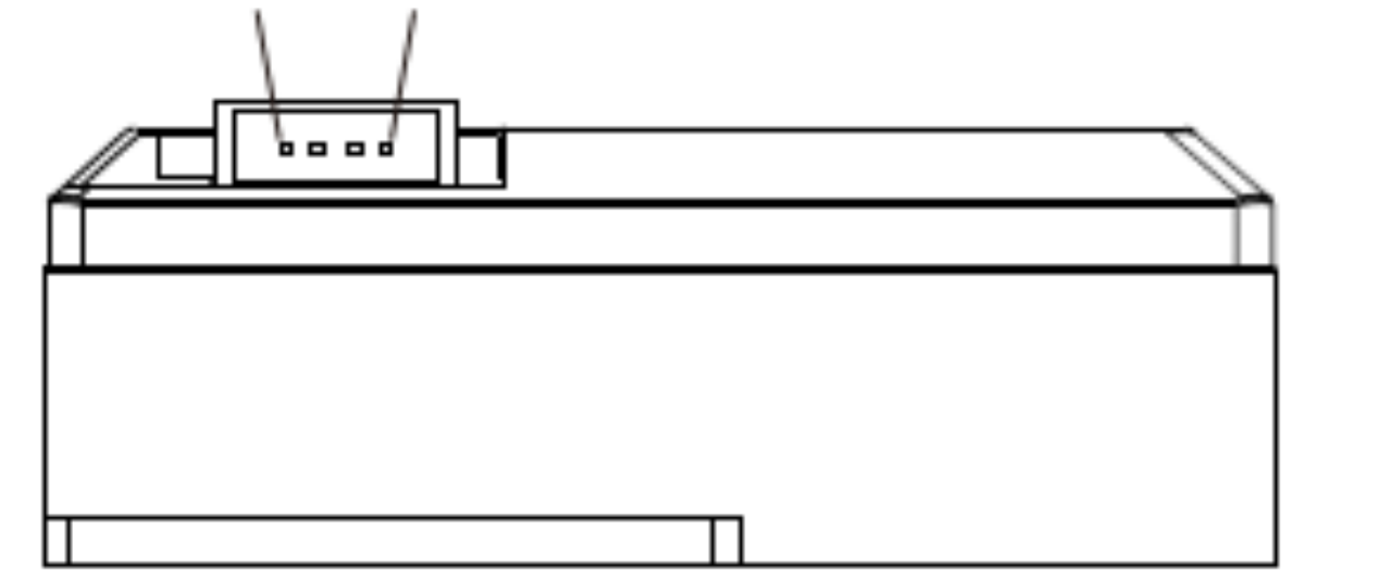
外形尺寸 | 46 * 34 * 18.15mm (L×W×H) |
产品外观尺寸图

工作原理
根据光的散射原理,红外光发射器经驱动电路驱动发射出脉冲红外光束,光束通过透镜汇聚后照射在空气中的悬浮颗粒物上产生散射,散射光经透镜汇聚后由红外光电接收器接收到,转换为电脉冲信号,脉冲信号的强度与颗粒物的浓度成相应的比例关系,根据此脉冲信号的强度可判断出粉尘的浓度。信号经放大器放大后输入到微处理器进行计算和处理,从微处理器的通讯接口输出检测结果数据。

引脚定义
Pin1 Pin4

引脚序号 | 引脚名称定义 | 引脚功能描述 | 引脚电气特性 |
Pin 1 | GND | 电源负 | 无反接保护 |
Pin 2 | VCC | 电源正(+5V) | |
Pin 3 | RXD | 模块UART接口的RXD脚 | (TTL电平@5v) |
Pin 4 | TXD | 模块UART接口的TXD脚 | (TTL电平@5v) 开路输出, 内部有上拉电阻连到电源正 |
电路链接
TXD/PWM | 4 |
RXD/IO |
3 | ||
RXD | TXD | |
2 | ||
VCC | VCC | |
1 | ||
GND | GND | |
串口通讯协议
模块采用标准UART串口通信,在应用过程中只需接收灰尘浓度数据,模块默认状态下为持续工作,UART串口每间隔1秒钟自动上传检测数据,串口数据解码后得到灰尘浓度值,单位为 ug/m3。
UART 配置
波特率:9600bps数据位:8停止位:1校验位:无
串口输出一帧数据包括4个字节,数据格式如下:
特征字节 | 数据字节 1 | 数据字节 2 | 校验字节 |
0xA5 | DATAH | DATAL | SUM |
特征字节: 固定值0xA5。
数据字节: DATAH为浓度值的高7 位,DATAL为浓度值的低7 位。校验字节: 校验字节之前所有字节累加和的低7位。
串口数据转换公式:
浓度值 = DATAH(bit[6:0])×128 + DATAL(bit[6:0])
例如, 串口输出4字节数据为:0xA5 0x01 0x2C 0x52
则 ,DATAH = 0x01=1, DATAL= 0x2C =44,
浓度值 = (1×128 + 44) = 68.8微克/立方米
PWM输出(传感器有两种输出方式:PWM或UART,出厂时已设定)
传感器通过 PWM 口(第 4 脚)输出 PWM 信号,该 PWM 周期为 1.2S,按低电平宽度计算灰尘浓度值。
例如:低电平宽度为 50ms,则对应灰尘浓度为 50ug/m3。
浓度输出范围为 5ug/m3 ~1000ug/m3。
该浓度值内部进行了软件滤波处理,跳动幅度相对较小。
注:因产品个体差异,输出最高值在 990-1010ug/m?范围。

灰尘传感器 Vs 专业仪器灰尘测定输出对比曲线

灰尘浓度是使用了数字粉尘仪(美国制 TSI8530),测量 8mg 中南海香烟的烟雾浓度值。
安装方式
可选两种安装方式:

建议安装时模块端子朝下;
注意模块的通风口要有气流通过;
推荐的安装方向:

■ 本产品提供 3 种安装方案,客户可根据自身需求选择合适的安装方式;
■ 安装应处于空气流通的位置,避免安装在串流、扰流的位置,避免安装在灰尘容易聚集的地方;无风扇型传感器建议: 空气流速:0.5~3 m/S
■ 检测中心孔周围不能有反光和浅色面,请安装于背光处,传感器 8mm 中心孔周围 ?12*H8mm 内不能有物体。
使用注意事项
1. 模块应安装于空气流通的位置,保持进气口通风;
2. 模块尽量安装于背光处,防止外界光从通气孔射入模块内部,造成模块误差增大;
3. 模块壳体为导电材料并且与电路GND连接,防止模块GND管脚接入高于人体安全电压的系统中;
4. 模块避免接触有机溶剂,不要在有机气体和可燃气体的环境使用;
5. 模块避免接触到水雾,水雾会使模块数据出现异常波动;水雾会使 PM2.5 数据出现异常波动;溅上水或浸到水中会造成传感器敏感特性下降或损坏。
6. 避免振动,模块受到剧烈震动会造成测量误差增大;运输及组装过程中频繁、过度振动会导致光电器件错位影响原始标定数据。
7. 避免强电磁干扰,模块尽量远离高频高压发生源强电磁环境,防止对模块造成干扰;传感器具有一定的抗干扰性能,但仍应避免强电磁环境。使用无线通信模块(如WiFi、蓝牙、GPRS 等)时,应与传感器保持足够远的距离,具体安全距离请用户自行验证。
8. 长期贮存,密封袋密封保存避免接触腐蚀性气体损伤电路板和光学器件。